安全卡盤扳手的結構設計以及在車床加工的應用
黃旭東
摘要:在車床的加工生產中,工作人員借助于卡盤扳手把工件擰緊或擰松,以實現車床加工生產的目的。本文從卡盤扳手安全事故引起的原因、安全卡盤扳手的結構設計與應用入手,對安全卡盤扳手引起的事故原因,以及如何改進卡盤扳手的設計與應用提出建議。
關鍵詞:車床;卡盤扳手;原因;設計應用
車床加工生產中,離不開卡盤扳手的參與。基于卡盤扳手具有使用頻繁的因素,就對卡盤扳手的設計與應用提出了更高的要求。設計人員在設計卡盤扳手時,以提高車床加工生產的效率為前提,以方便工作人員的使用。事實上,高品質的卡盤扳手,對工作人員加工生產能起到省時省力的效果,也能提高車床加工生產效率。
一 、卡盤扳手安全事故引起的原因
工廠工作人員利用卡盤扳手進行加工生產時,應按照車床的規范操作流程開展工作,才能確保工作人員的人身安全。
(一)車床故障,引起的客觀原因
車床加工生產中,有時會出現車床機械部分發生故障,此時工作人員把卡盤扳手插入卡盤里開展裝卸工件任務時,會因卡盤受到外力的作用突然產生轉動,造成安全事故的發生。
(二)操作不當,引起的主觀原因
車床離合器各部位能夠工作運轉,把卡盤扳手插入卡盤里進行裝卸工件,由于沒能及時取出,便開通了車床。或工作人員操作時不小心觸碰到離合器的手柄開通了機床,導致安全事故的發生。
二 、安全卡盤扳手的結構設計與應用
對安全卡盤扳手進行改進設計,能為工作人員的安全操作帶來益處。而掌握卡盤扳手的應用,能避免因操作問題帶來不必要的安全事故。
(一)安全卡盤扳手的結構設計
車床安全卡盤扳手的結構設計如圖1所示。當工作人員用卡盤扳手裝夾工件時,卡盤里的扳手有一個向下的壓力,對卡盤扳手很好地插入卡盤的小孔內里裝夾工件有助推的作用。當卡盤扳手在卡盤內完成工件裝卸工作后,應當松開卡盤內的卡盤扳手,利用彈簧的反彈作用將工件從卡盤上取出。若是工作人員扳反了就不會有向下的壓力,也不能裝夾工件,這時應為扳手來一個向下的壓力以夾緊工件。

圖1卡盤扳手設計結構
(二)安全卡盤扳手的應用
車床加工生產中,要了解卡盤扳手的工作原理,以避免安全事故的發生。

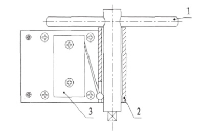
1.卡盤扳手2.導向筒 3.行程開關
圖2 安全裝置圖
把卡盤扳手插入裝置以后,3號開關的觸點經扳手被推開,3號開關接通電路。反之,若是不把卡盤扳手插入裝置中,電路則呈斷開狀態。即3號開關的觸頭是在彈簧力的作用下使動合與動斷觸頭進行換接,遇到外力作用卸掉后,能使彈簧依據復位力的作用自動復位。
結束語:
車床加工生產的安全系數,直接與卡盤扳手息息相關,只有提高卡盤扳手的設計參數,了解卡盤扳手在車床加工生產中的應用,才能實現車床加工生產的有效運轉。
投稿郵箱:chuanbeiol@163.com 詳情請訪問川北在線:http://www.bb0031.cn/